Patents
Design & Test Technology has extensive experience in the fields of instrumentation, sensors, and magnetic recording; we have invented a number of innovative concepts in these fields. Several of these inventions have been granted patents by the U.S. Patent and Trademark office.
Patents owned by Design & Test Technology:
U.S. Patent 5479716 - Capacitance-based Gravity Sensor
An inclination sensor which uses a flat plate with electrically conductive elements encased in a sealed chamber partially filled with a dielectric fluid. The fluid flows in response to a change in the tilt of the assembly resulting in a change in the capacitance between the electrically conductive regions of the plate. The tilt of the inclinometer is determined by measuring the capacitance between the electrically conductive regions of the plate.
U.S. Patent 5987392 - Waveform Peak Detector
A method for determining the amplitude and time location of peaks in a digitized waveform. This method uses real-time polynomial curve-fitting to accurately determine the amplitude and position of the waveform peaks even if the peaks are located between the digitized samples. Optionally, it uses band-limited interpolation to further improve overall accuracy. This patent is used in the Design & Test Technology MeasureBoard series of instrumentation.
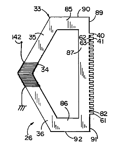
U.S. Patent 6433949 - Servo Write Head
A method for writing multi-track servo on magnetic tape that enables writing Linear Tape Open (LTO) servo patterns at higher tape speeds. This invention uses separate write cores for each servo band. This reduces the head inductance and provides the faster write-current transitions needed to support higher tape speeds. It also provides for repositioning the write cores to minimize the width of the head/tape contact area and improve the head to tape contact at higher tape speeds while still supporting the servo offsets required by the LTO format.
Other patents from the staff of Design & Test Technology:
U.S. Patent 5396376 - Multi-Track Embedded Servo
A multi-track embedded servo format providing track ID information as well as track-following information. This format was used by Irwin Magnetics tape drives.
U.S. Patent 5402273 - Window Margin Circuit
A method for measuring the timing margin of a serial data signal by measuring the distribution of data pulses within a data separator window by adding the described circuitry to a standard serial data controller and data separator. Although only employed by Irwin Magnetics, this measurement method would be applicable to any serial data signal.
U.S. Patent 5617269 - Servo Recording System
Method for writing a multi-track servo data pattern. This invention allowed writing a multitude of servo bursts across the width of the tape using a singlecomb-shaped write head. This invention was used to servo write tapes by Irwin Magnetics. A variation of this design was used for later QIC formatted tapes by several tape manufacturers.
The magnetic recording head includes an optical edge sensor and a magnetic edge sensor for sensing the position of the recording head relative to the edge of the storgage media.
The optical edge sensor consists of a fiber optic bundle and a post-processor to help sharpen the detected edge position.